Виды рыболовных сетей: одностенные, рамовые и трехстенные, и рекомендации по применению
В промышленном рыболовстве эффективность добычи напрямую зависит от соответствия конструкции сети поведению и размерам рыбы. По устройству сетной части жаберные сети делятся на несколько основных типов, каждый из которых имеет свои эксплуатационные преимущества.
Важно! Использование рыболовных сетей разрешено только при наличии специального разрешения, выданного в соответствии с законодательством Российской Федерации. Любительская рыбалка с использованием жаберных сетей запрещена!
Это наиболее распространенный и технически простой тип орудий лова. Конструктивно они представляют собой единое сетное полотно, посаженное на верхнюю и нижнюю подборы.
Виды. Помимо базовой конструкции, существуют также специализированные конструкции одностенных сетей:
Принцип действия: рыба «объячеивается», просовывая голову в ячею и застревая жаберными крышками.
Особенности: минимальный расход материалов, низкая стоимость, простота очистки от улова и легкость ремонта. Однако, для одностенных сетей критически важен точный подбор шага ячеи под конкретный размер рыбы.
Рамовые рыболовные сети считаются одними из самых уловистых. Их главная особенность – наличие системы вертикальных и горизонтальных пожилин, которые продеты сквозь ячеи и закреплены на подборах:
Принцип действия: благодаря большой «слабине» полотна, рыба не просто объячеивается, а надежно запутывается, наматывая на себя свободную сетку. Это делает рамовые сети незаменимыми для лова крупной и сильной рыбы.
Особенности: рамовые сети значительно долговечнее при лове крупной рыбы, так как пожилины принимают на себя основную нагрузку, защищая сетное полотно.
Эти сети, часто называемые «ряжевыми» (иногда встречается определение «режевые сети»), так как состоят они из нескольких слоев сетного полотна с разным размером ячеи:
Принцип действия: рыба проходит сквозь крупную ячею первой ряжи, ударяется в мелкоячейный частик и проталкивает его сквозь ячею второй ряжи, образуя прочный сетный кокон (мешок), из которого невозможно выбраться.
Особенности: многостенные сети («путанки») эффективны, но требуют значительно больше времени на очистку от улова и мусора по сравнению с одностенными.
Комбинированные конструкции объединяют в себе элементы разных типов сетей или разные размеры ячей в одном орудии лова.
Применение. Используются для одновременного облова разноразмерных групп рыб. Например, верхняя часть сети может быть выполнена как одностенная с мелкой ячеей, а нижняя – как рамовая или ряжевая с крупной ячеей.
Особенности. Позволяют эффективно вести промысел в водоемах со смешанным видовым составом рыб.
Эффективность и долговечность орудия лова прежде всего зависят от качества используемых сетематериалов – их мягкости, разрывной нагрузки и незаметности в воде. Даже самая идеальная рамная или трехстенная конструкция не обеспечит сети должного улова, если сетеполотно обладает низкой прочностью или недостаточной эластичностью.
Для изготовления надежной и высокоэффективной рыболовной сети профессионального уровня рекомендуем японские сетеполотна Hameleon (Momoi). Они производятся из мягкой и эластичной мононити со специальным покрытием для невидимости в воде. Сетеполотна Hameleon обеспечивают максимальную уловистость и износостойкость орудия лова в любых условиях эксплуатации.
Подписывайтесь на наш Telegram-канал и будьте в курсе всех новостей!
Важно! Использование рыболовных сетей разрешено только при наличии специального разрешения, выданного в соответствии с законодательством Российской Федерации. Любительская рыбалка с использованием жаберных сетей запрещена!
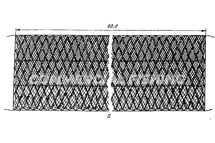
1. Одностенные сети
*Иллюстрация приведена в учебных целях для пояснения терминологии. Источник: Андреев Н.Н., 1988 г.
Это наиболее распространенный и технически простой тип орудий лова. Конструктивно они представляют собой единое сетное полотно, посаженное на верхнюю и нижнюю подборы.
Виды. Помимо базовой конструкции, существуют также специализированные конструкции одностенных сетей:
- Без нижней подборы. Используется в специфических условиях для облегчения снасти.
- С пожилинами без подвязки полотна. Пожилины принимают на себя каркасную нагрузку.
- С пожилинами и фиксацией полотна. Такая конструкция позволяет создать необходимую «слабину» сетки, что повышает удерживающую способность.
Принцип действия: рыба «объячеивается», просовывая голову в ячею и застревая жаберными крышками.
Особенности: минимальный расход материалов, низкая стоимость, простота очистки от улова и легкость ремонта. Однако, для одностенных сетей критически важен точный подбор шага ячеи под конкретный размер рыбы.
2. Рамовые сети (рамные)
*Иллюстрация приведена в учебных целях для пояснения терминологии. Источник: Андреев Н.Н., 1988 г.
Рамовые рыболовные сети считаются одними из самых уловистых. Их главная особенность – наличие системы вертикальных и горизонтальных пожилин, которые продеты сквозь ячеи и закреплены на подборах:
- Конструкция. Пожилины делят полотно на отдельные квадраты или ромбы («окна»). Длина пожилин значительно меньше соответствующих сторон сетного полотна, из-за чего в каждом окне образуется свободный сетный мешок.
- Виды. Помимо стандартных, выделяют ромборамовые и упрощенные рамные конструкции.
Принцип действия: благодаря большой «слабине» полотна, рыба не просто объячеивается, а надежно запутывается, наматывая на себя свободную сетку. Это делает рамовые сети незаменимыми для лова крупной и сильной рыбы.
Особенности: рамовые сети значительно долговечнее при лове крупной рыбы, так как пожилины принимают на себя основную нагрузку, защищая сетное полотно.
3. Многостенные сети (двухстенные и трехстенные)
*Иллюстрация приведена в учебных целях для пояснения терминологии. Источник: Андреев Н.Н., 1988 г.
Эти сети, часто называемые «ряжевыми» (иногда встречается определение «режевые сети»), так как состоят они из нескольких слоев сетного полотна с разным размером ячеи:
- Трехстенные сети. Включают основное мелкоячейное полотно (частик) и два внешних слоя из толстой нити с крупной ячеей (ряжи). Частик располагается между ряжами с большим избытком по высоте и длине.
- Двухстенные сети. Имеют одну ряжу и один частик. Эффективны в тех случаях, когда известно направление движения рыбы (она должна заходить со стороны частика).
Принцип действия: рыба проходит сквозь крупную ячею первой ряжи, ударяется в мелкоячейный частик и проталкивает его сквозь ячею второй ряжи, образуя прочный сетный кокон (мешок), из которого невозможно выбраться.
Особенности: многостенные сети («путанки») эффективны, но требуют значительно больше времени на очистку от улова и мусора по сравнению с одностенными.
4. Комбинированные рыболовные сети
Комбинированные конструкции объединяют в себе элементы разных типов сетей или разные размеры ячей в одном орудии лова.
Применение. Используются для одновременного облова разноразмерных групп рыб. Например, верхняя часть сети может быть выполнена как одностенная с мелкой ячеей, а нижняя – как рамовая или ряжевая с крупной ячеей.
Особенности. Позволяют эффективно вести промысел в водоемах со смешанным видовым составом рыб.
| Тип сети рыболовной | Конструктивные особенности | Принцип действия сети | Рекомендации по применению |
| Одностенные | Одно сетное полотно, посаженное на верхнюю и нижнюю подборы. | Объячеивание: рыба проходит головой в ячею и застревает жаберными крышками. | Массовый вылов рыбы одного вида и размера в промышленном масштабе. |
| Рамовые (рамные) | Полотно разделено сеткой из вертикальных и горизонтальных пожилин на «окна». Имеет большую «слабину». | Запутывание: из-за избытка сетного полотна в каждом «окне» образуется мешок, в котором рыба надежно путается. | Добыча крупной, ценной и сильной рыбы, способной вырваться из обычной сети. |
| Двух- и трехстенные (ряжевые) | Состоят из мелкоячейного полотна (частика) и одной или двух внешних стенок с крупной ячеей (ряжи). | Образование кокона: рыба проходит сквозь ряжу, проталкивает частик сквозь вторую ряжу, создавая прочный сетный мешок. | Облов водоемов с широким диапазоном размеров рыбы (от мелкой до очень крупной). |
| Комбинированные | Сочетают участки с разным шагом ячеи или разные типы конструкций (например, одностенная и рамовая) в одном орудии. | Универсальность: разные зоны сети работают на разные размерные группы или виды рыб. | Водоемы со смешанным видовым составом рыб, когда требуется селективность. |
Рекомендации по выбору сетематериала для орудий лова
Эффективность и долговечность орудия лова прежде всего зависят от качества используемых сетематериалов – их мягкости, разрывной нагрузки и незаметности в воде. Даже самая идеальная рамная или трехстенная конструкция не обеспечит сети должного улова, если сетеполотно обладает низкой прочностью или недостаточной эластичностью.
Для изготовления надежной и высокоэффективной рыболовной сети профессионального уровня рекомендуем японские сетеполотна Hameleon (Momoi). Они производятся из мягкой и эластичной мононити со специальным покрытием для невидимости в воде. Сетеполотна Hameleon обеспечивают максимальную уловистость и износостойкость орудия лова в любых условиях эксплуатации.
Подписывайтесь на наш Telegram-канал и будьте в курсе всех новостей!
